Vertical Jump Optoelectronic System
There are many devices for measuring vertical jump height. One such method is based on time measurement using the breaking of a laser or infrared beam when jumping. The problem with a single ground contact measure is that the subject can inflate their score by pulling up their feet on landing. The following system is designed to overcome this by using two sensors, measuring the time the feet leave the floor and also the hang time (Musayev, 2006). From these measurements, jump height can be calculated.
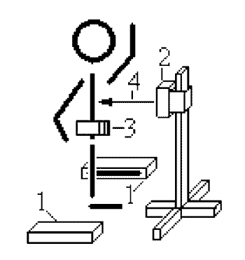
This device comprises a ground sensor for measuring the time the feet leave the floor, and another sensor mounted at around waist height (the vertical motion sensor or VMS). The VMS is triggered when the reflective belt passes across it on the way up and again on the way down (see diagram below). By combining the time from leaving the ground to first triggering the VMS, with the hang time between the two VMS signals, you can determine the total jump time.
diagram from the article by Musayev (2006) showing 1. ground sensor, 2. waist height vertical motion sensor, 3. reflective belt and 4. light beamThe advantage of this system is that it does not have the possible error of the feet being pulled up at landing, unlike the jump timing mat and other devices using just a ground contact mat.
Reference
- Musayev, E. (2006) Optoelectronic vertical jump height measuring method and device, Measurement Volume 39, Issue 4, Pages 312-319.
Related Pages
- The physics of the vertical jump
- Vertical Jump test results
- Procedure for Vertical Jump Testing
- More jump mats and other vertical jump devices in the fitness testing store
- Poll: Which equipment do you use to measure vertical jump?
- About vertical jump techniques
- Other vertical jump equipment
- Vertical Jump World Records